Werkstoff: Grauguss EN-GJL-250, phosphatiert.
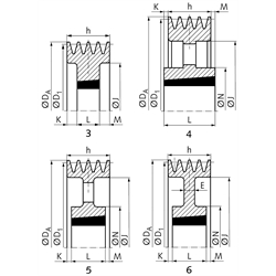
Keilriemenscheiben für Taper-Spannbuchsen, zur schnellen und einfachen Montage. Die Taper-Spannbuchse muss separat bestellt werden. In Anlehnung an DIN 2211 bzw. DIN 2217 bzw. ISO 4183, zur Verwendung mit klassischen Keilriemen DIN 2215 und Schmalkeilriemen DIN 7753-1 / ISO 4184. Der Nenndurchmesser D1 ist der Wirkdurchmesser.

1) Ø 200-212mm nicht für Keilriemen SPC.

Service:

Katalogseite

Zusätzliche Informationen

Montageanleitung



Die angebotenen CAD-Daten, Abbildungen und technischen Zeichnungen werden mit größtmöglicher Sorgfalt erstellt.
Dennoch kann keine Gewährleistung für die Fehlerfreiheit und Genauigkeit dieser Daten übernommen werden.

( freibleibend aus Lagervorrat / kurzfristig lieferbar / Lieferzeit nach Vereinbarung. Bitte fragen Sie nach. )
Artikel Menge Rillen-AnzahlNenn-Ø D1
[mm]
Ø DA
[mm]
AusführungTaper-Buchse
[Nr.]
Bohrung
[mm]
E
[mm]
h
[mm]
J
[mm]
K
[mm]
L
[mm]
M
[mm]
N
[mm]
Gewicht ca.
[kg]
151-C-4-200
4200 1)209,633020 20 - 75 -111144305130-11
151-C-4-212
4212 1)221,633020 20 - 75 -111156305130-13
151-C-4-224
4224233,633535 30 - 90 -111168118911-16
151-C-4-236
4236245,633535 30 - 90 -111180118911-16
151-C-4-250
4250259,633535 30 - 90 -111194118911-22,5
151-C-4-265
4265274,633535 30 - 90 -111209118911-26
151-C-4-280
4280289,663535 30 - 90 1811122411891117521,6
151-C-4-300
4300309,663535 30 - 90 2011124411891117525,5
151-C-4-315
4315324,663535 30 - 90 2011125911891117524,8
151-C-4-335
4335344,663535 30 - 90 2011127911891117528,6
151-C-4-355
4355364,663535 30 - 90 2011129911891117530,5
151-C-4-375
4375384,663535 30 - 90 2511131911891117533,5
151-C-4-400
4400409,663535 30 - 90 1811134411891117535,5
151-C-4-425
4425434,663535 30 - 90 1811136911891117539,5
151-C-4-450
4450459,653535 30 - 90 -11139411891117541,5
151-C-4-475
4475484,653535 30 - 90 -11141911891117545
151-C-4-500
4500509,653535 30 - 90 -11144411891117546
151-C-4-530
4530539,654040 40 - 100 -1114744,51024,521054
151-C-4-560
4560569,654040 40 - 100 -1115044,51024,521059
151-C-4-630
4630639,644545 55 - 110 -1115741,51141,524275
151-C-4-710
4710719,645050 70 - 125 -1116548127826780
151-C-4-800
4800809,645050 70 - 125 -11173781278267144
151-C-4-1000
410001009,645050 70 - 125 -11193781278267140,5
151-C-4-1250
412501259,645050 70 - 125 -111118781278267175


zur Gruppe


Impressum AGB Hilfe Datenschutzerklärung Index


MÄDLER on Facebook Facebook MÄDLER on Youtube YouTube MÄDLER on Twitter Twitter MÄDLER on Instagram Instagram MÄDLER on Xingk Xing MÄDLER on Linkedin LinkedIn