Werkstoff: Grauguss EN-GJL-250, phosphatiert.
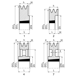
Keilriemenscheiben für Taper-Spannbuchsen, zur schnellen und einfachen Montage. Die Taper-Spannbuchse muss separat bestellt werden. In Anlehnung an DIN 2211 bzw. DIN 2217 bzw. ISO 4183, zur Verwendung mit klassischen Keilriemen DIN 2215 und Schmalkeilriemen DIN 7753-1 / ISO 4184. Auch verwendbar für Keilriemen 5V/15N nach ARPM/MPTA. Der Nenndurchmesser D1 ist der Wirkdurchmesser.

1) Ø 100-106mm nicht für Keilriemen SPB, XPB und 5V/15N.
2) Ø 112-132mm nicht für Keilriemen SPB und 5V/15N.


Im Zuge der Sortimentserweiterung dieser Produktgruppe wurden neue Teilenummern vergeben. Hier erhalten Sie eine vollständige Übersicht der bisherigen und neuen Artikelnummern:

Übersicht Nachfolger Taper-Keilriemenscheiben

Service:

Katalogseite

Zusätzliche Informationen

Montageanleitung



Die angebotenen CAD-Daten, Abbildungen und technischen Zeichnungen werden mit größtmöglicher Sorgfalt erstellt.
Dennoch kann keine Gewährleistung für die Fehlerfreiheit und Genauigkeit dieser Daten übernommen werden.

( freibleibend aus Lagervorrat / kurzfristig lieferbar / Lieferzeit nach Vereinbarung. Bitte fragen Sie nach. )
Artikel Menge Bisherige ArtikelnummerRillen-AnzahlNenn-Ø D1
[mm]
Ø DA
[mm]
AusführungTaper-Buchse
[Nr.]
Bohrung
[mm]
E
[mm]
h
[mm]
J
[mm]
K
[mm]
L
[mm]
M
[mm]
N
[mm]
Gewicht ca.
[kg]
151-B-2-100
155210002100 1)10781610 12 - 42 -44621925--1,30
151-B-2-106
2106 1)11381610 12 - 42 -44671925--1,50
151-B-2-112
155211002112 2)11981610 12 - 42 -44721925--1,75
151-B-2-118
2118 2)12521610 12 - 42 -4478-2519-1,80
151-B-2-125
155212002125 2)13222012 12 - 50 -4482-3212-2,00
151-B-2-132
2132 2)13922012 12 - 50 -4489-3212-2,35
151-B-2-140
15521400214014722012 12 - 50 -4497-3212-2,70
151-B-2-150
215015722012 12 - 50 -44107-3212-3,30
151-B-2-160
15521600216016722012 12 - 50 -44117-3212-4,00
151-B-2-170
217017722012 12 - 50 -44127-3212-4,50
151-B-2-180
15521800218018712517 15 - 65 -44--4511205,50
151-B-2-190
219019712517 15 - 65 -44--4511206,44
151-B-2-200
155220002200207142517 15 - 65 -44160-4511205,36
151-B-2-212
2212219142517 15 - 65 2044169-4511177,00
151-B-2-224
155222002224231142517 15 - 65 1544181-4511176,69
151-B-2-236
2236243142517 15 - 65 1544193-4511178,40
151-B-2-250
155225002250257142517 15 - 65 2044207-4511258,50
151-B-2-280
155228002280287142517 15 - 65 2044237-4511258,00
151-B-2-300
2300307142517 15 - 65 2044257-4511255,85
151-B-2-315
155231002315322142517 15 - 65 2044272-45112513,2
151-B-2-335
2335342142517 15 - 65 2044292-45112514,0
151-B-2-355
235536273020 20 - 75 15443123,5513,514415,9
151-B-2-400
15524000240040743020 20 - 75 -443573,5513,515016,0
151-B-2-450
245045743020 20 - 75 -444073,5513,515017,0
151-B-2-500
250050743020 20 - 75 -444573,5513,515019,0
151-B-2-560
256056743030 30 - 75 -4451716761615024,0
151-B-2-630
263063743030 30 - 75 -4458716761615025,0


zur Gruppe


Impressum AGB Hilfe Datenschutzerklärung Index


MÄDLER on Facebook Facebook MÄDLER on Youtube YouTube MÄDLER on Twitter Twitter MÄDLER on Instagram Instagram MÄDLER on Xingk Xing MÄDLER on Linkedin LinkedIn